waecE-LEARNING
Home
Technical
Mathematics
Languages
Science
Social Science
Art
Literature Arabic Islamic Studies C.R.K HistoryMusicVisual Art Clothing/Textile Home Management Shorthand
 
Metal Works Paper 2, Nov/Dec. 2009  
Questions: 1 2 3 4 5 Main
General Comments
Strength
Weakness/Remedies

















Question 2

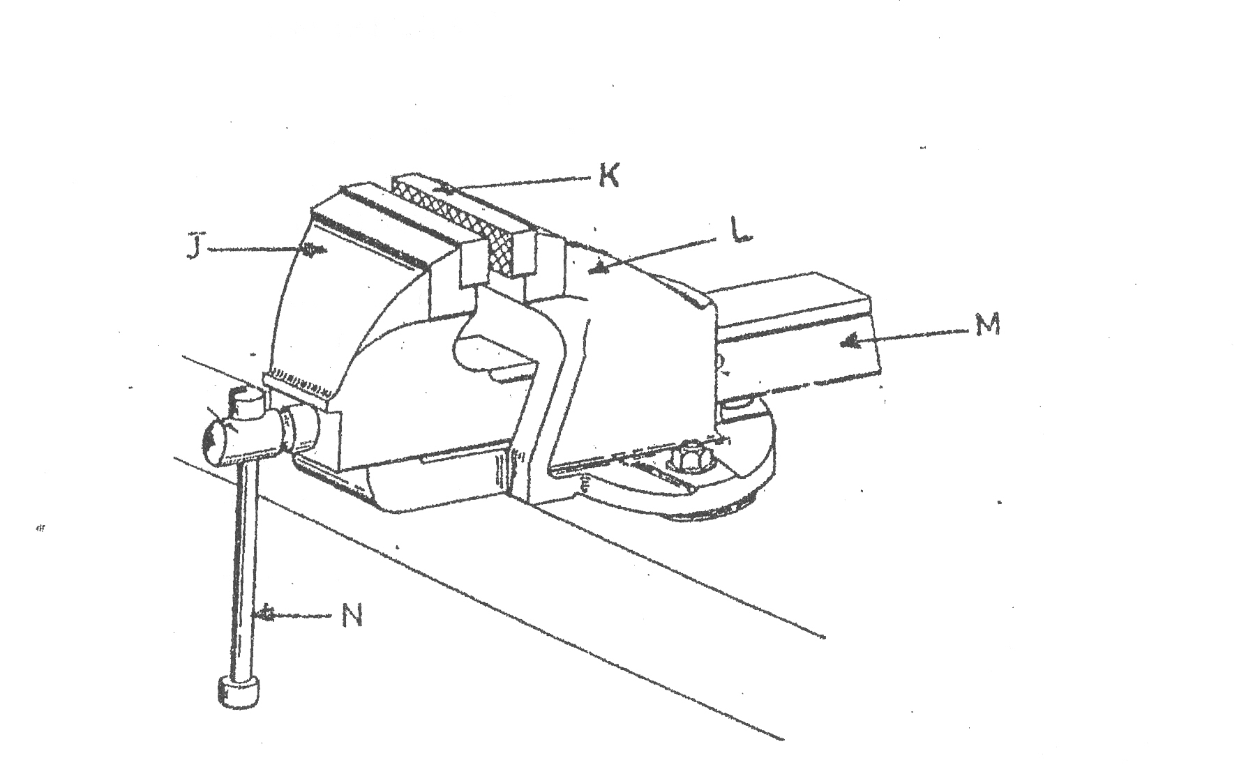
  1. (i)        Identify the tool shown in the sketch above.

(ii)       Name the parts labelled J, K, L, M and N.

  1. Sketch the following files:
  2. hand file;
  3. flat file
  4. half-round file.

State one use of the hand file.

_____________________________________________________________________________________________________
OBSERVATION

Most of the candidates could not state correctly the technical name of the sketch shown.  The name of the sketch shown is the engineer’s vice and not bench vice as stated by some candidates.   Part (b) of the question did not pose any serious problem to the candidates.  However, most of the candidates could not give the required response to part (c) of the question.  The required response to part (c) should be:

The hand file is used where one face only is to be filed.

Powered by Sidmach Technologies(Nigeria) Limited .
Copyright © 2012 The West African Examinations Council. All rights reserved.