Question 2
The following materials are supplied:
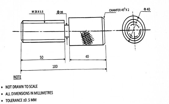
(a) one piece free cutting mild steel rod, Æ50 mm x 120mm;
(b) one cotton bag 150 mm x 120mm to enclose the finished work;
(c) two tie-on labels.
The diagram below shows a detailed view of a machine part. Produce the part using the material supplied.

Observation
No candidate attempted this question. This could be attributed to lack of lathe machine and trained personnel in the schools.